產品中心

工作原理:
塑料浮球開關一般采用PP/PVC/PVDF等塑料材質,由磁簧開關和浮子組成,浮子隨被測液位上下移動時,觸動磁簧開關而檢測出液位位置。
性能特點:
塑料浮球開關耐酸堿和腐蝕性要比不銹鋼的強,采用的是進口開關元件,體積輕巧,工作原理簡單,可靠性高,價格便宜,有不同材質及規格的浮球可供選擇,電氣參數可根據客戶要求改變,特殊規格亦可定制。
應用范圍:
飲水機、空調、加濕器、純水機、浴室設備、銷售機、郵箱、化工液的液位控制,在汽車、工業設備、農用設備、家用電器中應用前景廣泛。
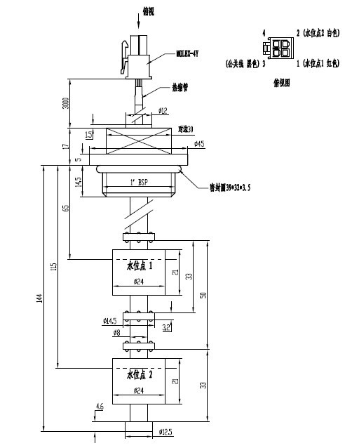
技術參數:
品名型號 | MR1C144-PVC | ||
安裝形式 | 頂部或底部垂直安裝 | ||
安裝尺寸 | BSP | ||
動作特性 | 上浮接通或下浮接通(可調),雙水位點控制 | ||
使用條件 | 介質 | 水、油、化工類介質 | |
溫度范圍 | –10~+85℃ | ||
壓力范圍 | 0.2MPa | ||
電氣特性 | 使用電壓范圍 | AC10mV~100V | DC10mV~100V |
最大開關容量 | AC10VA | DC10VA | |
使用電流范圍 | AC10μA~0.5A | DC10μA~0.5A | |
觸點耐壓 | DC150V/秒 | ||
絕緣抵抗 | 1000MΩ以上 | ||
接點接觸抵抗 | 100MΩ以下(包含導線抵抗) | ||
使用壽命 | 10的8次方次以上(AC100V、100mA負荷) | ||
機械特性 | 抗沖擊力 | 自然落下30cm木板上 | |
抗振動力 | 全振幅1.5mm(10-55Hz) | ||
安裝穩固度 | 2N.m | ||
材質 | 導桿 | PVC | |
螺母 | PVC | ||
浮球 | PP | ||
卡圈 | PVC | ||
導線 | UL 1007 22AWG 24AWG | ||
填充物 | 環氧樹脂(ROHS) | ||
注:可定制高功率50W,高耐壓220V | |||